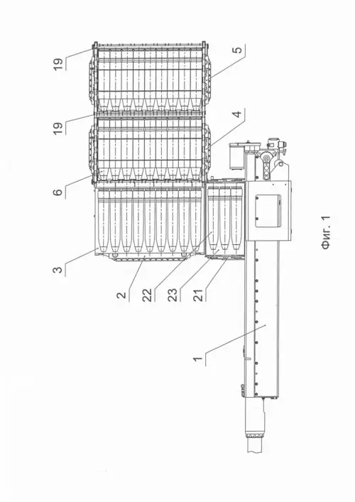
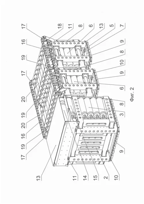
Партия модернизированных с учётом опыта СВО БМПТ поступила в войска

12 223 68
Партия модернизированных с учётом опыта СВО БМПТ поступила в войска

Очередная партия боевых машин поддержки танков (БМПТ) поставлена в войска, отгрузку техники произвел Уралвагонзавод, сообщает пресс-служба Ростеха.

Партия БМПТ передана военным, параметры поставки не раскрываются, но подчеркивается, что техника поставлена в рамках гособоронзаказа к Дню Сухопутных войск. Все машины прошли необходимые испытания и полностью готовы к боевому применению. Техника отправлена заказчику железнодорожным транспортом.



Как подчеркнули в УВЗ, сегодняшняя версия БМПТ отличается от той, с которой ВС РФ начинали СВО. Конструкторы предприятия добавили машине динамической защиты, установили дополнительную защиту бортов, оборудовали технику противодроновыми решетками и системами РЭБ для борьбы с БПЛА противника. Все изменения внесены в конструкцию по опыту применения БМПТ в СВО.

БМПТ отлично зарекомендовала себя в ходе СВО и сегодня крайне востребована в российских войсках. Опыт применения показал, что эти машины могут использоваться как в связке с танками, так и в качестве самостоятельной боевой единицы.

- говорится в сообщении.

На сегодняшний день УВЗ выполняет большой заказ Минобороны на поставку машины поддержки танков.

68 комментариев
Информация
Уважаемый читатель, чтобы оставлять комментарии к публикации, необходимо авторизоваться.
  1. -15
    1 октября 2025 11:49
    Если башни нет, то как разместили 3х человек экипажа? или экипаж стал всего 2е?
    1. +6
      1 октября 2025 11:55
      вообще там экипаж 5чел...
      1. -13
        1 октября 2025 11:58
        а чего не взвод?
        Сразу вспомнил анекдот, про одинаковые заводы в России и Японии.
        Как затолкали 5 человек если в танке вместе с башней даже 3им тесно было? И самое главное зачем? Что они там делают? ну командир и мехвод понятно, наводчик-стрелок понятно, а еще 2е?
        1. +3
          1 октября 2025 12:04
          см ТТХ этой машины: командир, мехвод, наводчик, 2 опер гранатомётов...2 чел под башней, 3 в передн части корпуса
          1. -5
            1 октября 2025 12:39
            Очень пугает отсутствие заводского мангала на фотках.
            Хоть, в тексте и написана, что вроде, как, с учетом опыта СВО sad
            1. +2
              1 октября 2025 16:18
              У них есть мангал , и довольно симпатичный , видимо будут смонтированы на месте .
              1. -3
                1 октября 2025 16:26
                Цитата: bayard
                будут смонтированы на месте

                Вот это-то и пугает. В заводских-то условиях, когда есть вся оснастка и качественные кадры, тогда и стоимость и качество монтажа многократно выше, чем на местах.

                Но даже такие мелкие доработки почему-то не хотят внедрять на заводах. sad
                1. +2
                  1 октября 2025 16:41
                  Я так понял , что заводской мангал есть , но смонтируют их уже на месте . У нас техника по ж\д обычно без обвеса транспортируется . В т.ч. и без бортовых экранов и навесной ДЗ "Кактус" . Просто практика транспортировки . Мангалы и ДЗ в отдельных вагонах .
                  1. -4
                    1 октября 2025 17:10
                    Цитата: bayard
                    заводской мангал есть , но смонтируют их уже на месте

                    Даже если он идет как конструктор, все описанные аргументы насчет качества монтажа в силе. Да и странно очень это, мангал на БМПТ никак не мешает при транспортировке, наоборот, создает доп. защиту для вооружения и другого оборудования башни request
                    1. +3
                      1 октября 2025 18:27
                      Есть такое понятие как габариты . Для этого и бортовые экраны с танков снимают - требования РЖД .
                      Минусы не мои .
                      1. -1
                        2 октября 2025 09:02
                        Цитата: bayard
                        Есть такое понятие как габариты

                        Понятие такое есть. Но мангал у БМПТ их не увеличивает. yes

                        Гораздо более вероятный вариант, что по госконтракту БМПТ выполняются без мангалов. А сами мангалы можно заказать отдельно, инициативно. Ну и, разумеется, иметь весь геморрой с их полевой установкой.
                      2. 0
                        2 октября 2025 12:02
                        Цитата: Netl
                        вероятный вариант, что по госконтракту БМПТ выполняются без мангалов.

                        Если это так , то все претензии к МО , а не к производителю . Производитель штатный мангал сваял .
                      3. -1
                        2 октября 2025 12:19
                        Цитата: bayard
                        то все претензии к МО , а не к производителю

                        Всей их системы не знаю,
                        Курирующий зам нач. Генштаба=>МО =>Ростех=>Уралвагонзавод...
                        Может, еще какие промежуточные формы имеются. Но, очевидно, что эта система внедряет изменения (даже мизерные типа мангала) очень неспешно, мягко говоря. Именно поэтому, я оцениваю шанс появления новых броне-машин
                        на СВО, как не такой высокий.

                        А очень хочется ошибиться и увидеть, как ТБТР успешно применяются и спасают жизни наших ребят. request
                      4. 0
                        2 октября 2025 14:26
                        Судя по тому что ТБТР УВЗ уже сделал , и сделал именно в правильной компановке , в принципе появиться такие машины могут и в ходе текущей СВО . Впрос в их количестве и темпах производства , ибо это в ущерб новым танкам .
                        Для того чтобы высвободить производственные мощности и ресурсы от менее приоритетного , считаю что от производства БМПТ следует отказаться в пользу производства из старых и битых танков ШМПП в БМ "Курганца" - кратно дешевле , быстрей , проще и силами ремзавода . Так же только их битых и старых танков производство БРЭМ . Это позволит быстрей и дешевле насытить войска такой техникой без ущерба строительства новой техники с нуля . А таковой должны быть Т-90М и ТБТР . ТБМП при наличии ШМПП не нужна . И совместное боевое применение ТБТР и ШМПП , когда одна доставляет штурмовую пехоту к рубежу спешивания , а вторая (ШМПП) прикрывает первую\первые огнём . Именно таким распределение задач и работ можно в кратчайшие сроки насытить войска необходимой тяжелой бронетехникой в нужных количествах и без ущерба производству новых танков .
                      5. +2
                        2 октября 2025 15:09
                        Цитата: bayard
                        появиться такие машины могут и в ходе текущей СВО

                        С Вашей аргументацией в основном согласен, но считаю, что сценарий сохранения текущей ситуации в производстве броне-техники несравнимо более вероятен.

                        Про ШМПП уже писал раньше, ИМХО, у них будет очень редкая возможность нормального использования до появления эффективной микроволновки, авто-турели с самоподрывом, лазером или еще чего-то хорошего против дронов. Причем, оно должно быть именно серийным и массовым, а не единичным образом "не имеющим аналогов". И только после этого можно будет думать о ШМПП.

                        А в целом дай Бог, чтобы правы были именно Вы и реализовался описанный Вами сценарий, а не тот, который кажется более вероятным мне. request
                      6. 0
                        5 октября 2025 10:13
                        Цитата: bayard
                        Судя по тому что ТБТР УВЗ уже сделал , и сделал именно в правильной компановке , в принципе появиться такие машины могут и в ходе текущей СВО . Впрос в их количестве и темпах производства , ибо это в ущерб новым танкам ... считаю что от производства БМПТ следует отказаться в пользу производства из старых и битых танков ШМПП в БМ "Курганца" - кратно дешевле , быстрей , проще и силами ремзавода .


                        Меня продолжают терзать смутные сомнения и когнитивный диссонанс, при прочитывании ваших комментариев.

                        А почему нельзя не/просто увеличить производство и того (БМПТ) и другого (танки) (по вашей информации у нас упало производство танков?)

                        Даже если это производство танков упало, это суицидальная попытка?

                        или может быть БМПТ в текущей комплектации (5 чел экипажа из которых вы считаете 2х лишними) по реальной боевой эффективности действительно не хуже танков и уж тем более оценочной эффективности ШМПП (о концепте которой я прочитал только из ваших комментариев) с модулем от курганца.

                        Может быть ШМПП не так уж проста в изготовлении на ремзаводах, как вы это прогнозируете, и реальные затраты, недостаток кадров на ремзаводах, на производстве модулей для курганца, и пр. производственные проблемы и проблемы с обучением экипажей и эксплуатацией в войсках еще одной разновидности БМПТ несколько выше ваших оценок?

                        Спасибо.
                      7. 0
                        5 октября 2025 11:11
                        Цитата: Инж Мех
                        у нас упало производство танков?

                        Вовсе нет . Думаю оно будет постепенно нарастать или уже нарастает . Но танки это танки . Без пехоты воевать им тяжело и рисковано . А для штурмовой пехоты нужны ТБТР (и их в правильной компановке и надлежащем качестве возможно строить лишь с нуля) и ШМПП (машины огневой\боевой поддержки с уровнем защиты танка) . Таковыми машинами могут быть :
                        - имеемые в наличии и производстве БМПТ (дорогие , сложные , 5 человек экипаж , строятся с нуля) .
                        - переделанные из старых\битых танков , с заменой башни на БМ "Курганца" на подиуме . Подиум может быть литой как у "Терминатора-2 (алжирский вариант) , или коробчатый в размерности боевого отделения танка . В последнем случае возможен люк в задней части подиема для принятия десанта с поля боя . Ибо места в боевом отделении достаточно , чтоб дополнительно к командиру и стрелку разместить там от 3 до 5 десантников\штурмовиков (это как раз то чего Вы так хотели бы получить .
                        Т.е. при желании ШМПП может стать эдакой эрзац ТБМП ... но этой опцией советовал бы не злоупотреблять .
                        И вот такая ШМПП в зависимости от комплектации будет стоить в производстве\переделке в 4 - 4+ раза дешевле с нуля построенной БМПТ , ОБТ или ТБМП правильной компановки . И именно такими машинами надо насыщать войска и именно сейчас - когда идёт война и очевидна перспектива Большой Войны , когда для этого достаточно битых в башню танков и старых танков на базах хранения , для чего сварщикам и слесарям потребуется минимум работ .
                        Цитата: Инж Мех
                        А почему нельзя не/просто увеличить производство и того (БМПТ)

                        Потому что это дорого и нерационально . производственные мощности эти лучше отдать под производство ТБТР , которых надо МНОГО и строить которые можно только с нуля .
                        Цитата: Инж Мех
                        Может быть ШМПП не так уж проста в изготовлении на ремзаводах,

                        Думаю достаточно проста , раз даже алжирцы смогди в достаточно короткий срок на своих ремзаводах\ремзаводе переделать 300 своих старых Т-62 в подобные БМПТ\ШМПП из модернизационных комплектов от УВЗ , но БМ "Бережок" .
                        Единственная сложность и задержка может возникнуть только с организацией серийного производства БМ от "Курганца" . Ибо его серийное производство не велось . Но так как он оптимален для ШМПП и необходим для производства БМП-3М "Манул" , такое решение (о серийном производстве ШМПП) может дополнительно простимулировать запуск этого БМ в серию сразу для двух крайне востребованных воюющей Армией машин .

                        Для формирования корпуса оптимальной ШМПП с возможностью принятия нескольких человек десанта , нужно всего лишь нарастить на примерно 30 см. борта и лобовую часть боевого отделения , накрыть это крышей и на ней смонтировать БМ "Курганца" .
                        Размещение десанта примерно такое же как в БМП-3 (которая тоже сделана из лёгкого плавающего танка) . Люк для десанта примерно такой же как у БМОТ . Все эти выкрутасы с десантом несколько усложнят конструкцию и будут более трудозатратны , но это не потребует переделки корпуса самого танка , его какой-либо трансформации . Либо литой подиум как у алжирского "Терминатора-2" , либо коробчатый наварной с десантным отделением . Карабкаться к люку штурмовикам придётся через двигатель , но жить захочешь - акробатом станешь . Ибо десант - это опция , а не основное назначение . Спешиваться под огнём оттуда недопустимо , а вод на случай эвакуации с поля боя штурмовиков при отсутствии рядом ТБТР - опция полезная .
                        И что особо полезно - сделать такую ШМПП можно практически из любого танка . Даже старого , даже трофейного иностранного (при желании) . Ибо переделка касается только боевого отделения .
                        Цитата: Инж Мех
                        Меня продолжают терзать смутные сомнения и когнитивный диссонанс, при прочитывании ваших комментариев.

                        Может это из за невольных опечаток , которые в маленьком окошке сложно редактировать . Не всё успеваю исправить .
                      8. 0
                        6 октября 2025 08:08
                        Пока из ваших комментариев мне лично понятно следующее:

                        БМПТ терминатор с курсовыми АГСами (БМПТ-АГС) === дорого ненужно могила на пятерых отнимает производственные мощьности от то ли танков то ли ТБТР => плохо!

                        ШМПП-Курганец без курсовых АГСов (о которой только известно от вас) дешево быстро (не взирая на отсутствующей в серии модуль от курганца) см алжир с другим модулем (≠ рф) не могила на троих и по-любому (а это точно?) может быть сделана на ремонтных мощностях (при наличии сотответствующих отдельных мощностей (включая персонал) для произвадства модуля от курганца. Они есть?)
                        И
                        Бюджетно не могила на 3+1 дроновод
                        И
                        Дорого не могила на 3+4 штурмовика

                        ТБТР из картинок, ничем не защищенный, на танковом шасси === по-любому хорошо ≠ могила на минимум 6+??. Которому нужна машина огневой поддержки либо БМПТ-АГС = могила на 5х, либо ШМПП-курганец ≠ не могила на 3х+.

                        При этом вами оставлены без комментариев
                        явные тенденции к сокращению числа штурмующих в отдельной группе до 4-3х штурмовиков (как минимум на сегодняшний день) , что вообще может быть реализовано посредством бронекапсул на 3-4х человек, стыкуемых сзади к любой бронированной гусеничной технике (по аналогии бронекапсул к Т-34 времен ВОВ), которые могут быть теоретически произведены на любых заводах, имеющих способность варить бронелисты.

                        Ну вот и весь когинитивный диссонанс.

                        И если вы действительно что-то там изучали в вопросах планирования, стратегии, организации полного жизненного цикла продукта (от проекта к эксплуатации, обслуживанию, ремонту, модернизации и до утилизации) и т.п. то диссонанс при наличии этой информации только резонирует.
                      9. 0
                        6 октября 2025 11:45
                        Если у Вас диссонанс там где всё просто , стройно и ясно , это точно не мои проблемы .
                        В моём случае для комплектования сбалансированных штурмовых частей и соединенй бронетехникой необходимо наладить производство с нуля только ТБТР . ОБТ идут с баз хранения через модернизацию , ШМПП переделываются из старых или битых танков с минимальными издержками силами дооснащённого ремзавода .
                        В результате темпы насыщения - максимально сжатые .
                        Издержки минимизированы\оптимизированы .
                        Основные производственные мощности загружены производством с нуля ТБТР и ограниченного количества новых танков .
                        ШМПП при желании получает опциональную возможность принять несколько человек десанта .
                        ТБТР с БМ от БТР-82А отнюдь не является беззубым на случай поддержки огнём пехоты на момент выдвижения , спешивания десанта и эвакуации штурмовиков с поля боя .
                        Цитата: Инж Мех
                        может быть реализовано посредством бронекапсул на 3-4х человек, стыкуемых сзади к любой бронированной гусеничной технике (по аналогии бронекапсул к Т-34 времен ВОВ

                        А куда ? В какое место у нас бьют обычно ударные дроны эту самую технику ? Или Вы этой бронекапсулой с десантом МТО от таких дронов прикрыть решили ?
                        То , что было приемлемо в ВОВ сейчас смотрится так же , когда накрыв танк сарай-мангалом из листового железа , наши штурмовике в этом мангале на танке и прорываются .
                        Я предложил РАЦИОНАЛЬНОЕ .
                        Вы - набор фантасмагорий и прожектов .
                      10. 0
                        7 октября 2025 06:53
                        Цитата: bayard

                        Я предложил РАЦИОНАЛЬНОЕ .
                        Вы - набор фантасмагорий и прожектов .


                        Я не предлагал набор, просто один доп модуль потенциально совместимый с любой уже существующей в металле бронированной техникой с задним мто. Как мы с вами наверное оба понимаем, что никто не запрещает сделать его хорошо бронированным и обвесить активной защитой.

                        В ВОВ не было дронов => не было надобности в сараеподобнвх мангалов на танках (если не рассматривать рубочные САУ, обвешанные экранами при появлении кумулятивных боеприпасов), опять таки мангалы - ничто иное как развитие экранов в верхнюю полусферу защищаемой боевой техники.

                        Набор, с моей точки зрения (реальных проЭктов, прожектов, фантазий - это уже на усмотрение других) - это набор нескольких несуществующих пока в серии машин с частично существующими модулями вооружения: тбтр, тбмп, шмпп (с/без десанта).

                        Но опять таки мы уже с вами выяснили, что наше с вами образование в корне различно.

                        Интересно будет вас почитать если тбтр и тбмп будут сделаны по схеме тов Гусева с передним моторным отсеком, и задней трансмиссией (трансмиссии бывают не только механическими с использованием карданных валов).

                        И безусловно интересно будет посмотреть на набор боевых модулей к этим машинам и результаты их интенсивного применения.

                        Спасибо.
                      11. 0
                        10 октября 2025 07:46
                        Цитата: bayard
                        Если у Вас диссонанс там где всё просто , стройно и ясно , это точно не мои проблемы .
                        В моём случае для комплектования сбалансированных штурмовых частей и соединенй бронетехникой необходимо наладить производство с нуля только ТБТР . ОБТ идут с баз хранения через модернизацию , ШМПП переделываются из старых или битых танков с минимальными издержками силами дооснащённого ремзавода .
                        В результате темпы насыщения - максимально сжатые .
                        Издержки минимизированы\оптимизированы .
                        Основные производственные мощности загружены производством с нуля ТБТР и ограниченного количества новых танков .
                        ШМПП при желании получает опциональную возможность принять несколько человек десанта .
                        ТБТР с БМ от БТР-82А отнюдь не является беззубым на случай поддержки огнём пехоты на момент выдвижения , спешивания десанта и эвакуации штурмовиков с поля боя .
                        Цитата: Инж Мех
                        может быть реализовано посредством бронекапсул на 3-4х человек, стыкуемых сзади к любой бронированной гусеничной технике (по аналогии бронекапсул к Т-34 времен ВОВ

                        А куда ? В какое место у нас бьют обычно ударные дроны эту самую технику ? Или Вы этой бронекапсулой с десантом МТО от таких дронов прикрыть решили ?
                        То , что было приемлемо в ВОВ сейчас смотрится так же , когда накрыв танк сарай-мангалом из листового железа , наши штурмовике в этом мангале на танке и прорываются .
                        Я предложил РАЦИОНАЛЬНОЕ .
                        Вы - набор фантасмагорий и прожектов .



                        Кстати говоря я бы согласился с критикой БМПТ УВЗ но только в плане увеличения многоканальности огня в пользу БМПТ/ШМПП ЧТЗ с 2мя независимыми установками для 30мм автопушек https://btvt.info/4ourarticles/bmpt_future/bmpt_future.htm

                        В этом плане экипаж (если он 7-8 чел) имеет возможность
                        1. вести огонь по 6ти целям одновременно из машины а не просто быть безучастно перевозимым в бронеавтобусе
                        2. 2-5 человек могут высадится и решать задачи с наружи машины.

                        Таким образом имея те же две машины как по-вашему тбтр/тбмп и шмпп можно полноценно оперировать как гораздо бОльшей огневой мощью, так и десантом до 10 чел, только при этом не плодить лишние сущности транспортных средств

                        Единственное но - это снабжение, но это в наш век роботизации решается беспилотной наземной техникой

                        Ваш же ПРОЭКТ (со всеми большими буквами) ШМПП не выдерживает вообще никакой критики (не только моей => см статью), если только не стоИт задача пристроить хоть куда-нибудь корпуса от танков с хранения (и в качечестве встречного сарказма: сделать недорогую могилку на ≥3х).

                        Спасибо.
                      12. 0
                        10 октября 2025 10:53
                        Цитата: Инж Мех
                        я бы согласился с критикой БМПТ УВЗ но только в плане увеличения многоканальности огня в пользу БМПТ/ШМПП ЧТЗ с 2мя независимыми установками для 30мм автопушек

                        И снова "многобашенные танки" . И дикого размера экипаж . Машина ведь просто не доедет до линии боевого соприкосновения , не спасётся от дронов-камикадзе (как почти любая) , её функционал на современном поле боя ограничен , но цена такого монстра будет запредельной .
                        БМПТ\ШМПП может иметь любой разумный облик при приемлемом составе вооружения , но в условиях войны должна соответствовать условиям :
                        - достаточная степень защиты и состав вооружения для задачь поддержки штурмовой пехоты и танков на марше и в бою.
                        - технологичность производства для обеспечения максимально высоких из возможного , темпы производства , при минимизации\оптимизации издержек .
                        - умеренный ценник для обеспечения большой серийности\массовости .
                        - по возможностей выполненной на основе существующего в производстве шасси и прочих компонентов и комплектующих .
                        Наиболее этим требованиям соответствует предложенный облик ШМПП , дающий при этом старт серийному производству БМ от "Курганца" .
                        Так же этому , но несколько в меньшей степени соответствует проект БМПТ-72 . Но у него лишняя 30 мм. пушка (что в принципе недостатоком не является , но она избылочна) , отсутствует гранатомёт , и невозможно размещение десанта , ибо боевое отделение занято погруженным в боевое отделение боекомплектом .
                        Все другие альтернативные варианты таких машин неоправдано сложны и трудоёмки в производстве , дороги , а значит не смогут иметь достаточно большой\достаточной для войны серии .
                        И повторяю - это решение для условий военного времени , когда делать всё необходимо быстро , качественно и недорого . И из того , что есть в наличии и серийном производстве .
                        В мирное\межвоенное время никакой ШМПП и БМПТ сочинять бы не пришлось . Просто ТБТР с лёгким БМ , и ТБМП на том же корпусе , но с тяжелым модулем (от того же "Курганца" . Построенные с нуля , на одном шасси и в одном корпусе - оптимальное решение , когда есть время и достаточно средств . Максимальная унификация , удобство эксплуатации и десант везут обе машины . Все задачи ныне дилегируемые БМПТ сможет с не меньшим успехом решать ТБМП , ибо она максимально универсальна и многозадачна . Но она - для мирного времени .
                        А сейчас критически необходимо появление , и в максимальных количествах , ТБТР . А остальные машины делать из старых и битых танков (ШМПП и БРЭМ).
                        Вот моё резюме и окончательный вывод .
                        Цитата: Инж Мех
                        Ваш же ПРОЭКТ (со всеми большими буквами) ШМПП не выдерживает вообще никакой критики (не только моей => см статью)

                        Я бы и сам статьи мог бы написать , и поинтересней . Но предпочитаю доносить свои мысли на форумах . Кому надо и положено - увидят .
                      13. 0
                        10 октября 2025 13:56
                        Цитата: bayard
                        И дикого размера экипаж . Машина ведь просто не доедет до линии боевого соприкосновения , не спасётся от дронов-камикадзе (как почти любая) , её функционал на современном поле боя ограничен , но цена такого монстра будет запредельной . .


                        1. И "дикого размера" и экипаж и десант (никто пока на моей памяти не посчитал эффективность десантника снабженного индивидуальной полноценной дистанционно управляемой станцией относительно мощного вооружения).

                        Яркий пример:
                        два любых десантника в БМП-3 являются безучастными пассажирами (с нулевой эффективностью если не доедут до передовой) по сравнению с двумя десантниками с курсовыми пулеметами в БМП-3, которые вряд ли могут сравниться по эффективности с двумя операторами курсовых АГСов в БМПТ (≈ 40% пораженных целей) и которых, как не трудно догадаться, можно спешить в точке прибытия.

                        Теперь представьте каждого десантника с пультом управления FPV дроном запускаемого с этой же машины (иди с любой другой) по только что обнаруженной цели и поражающего её чтобы в том числе доехать до той самой линии. (Пусть будет моей фантазией, воплощение которой в жизнь вы увидите в скором времени)

                        2. Кстати о доездах.
                        Почему ТБТР и ТБМП в таком случае доехать то должны!? И не стать могилами для (сколько вы там хотели невинных душ запихать туда)!?

                        3. Лучше вы бы писали статьи где четко сформулированы предпосылки и ваша позиция пусть на какую-то дату. По комментариям вас тяжело поймать на слове:

                        То Вы до 15± чел напихать хотите в полностью перебранный корпус и СУ от танка на хранении (и все у вас бытро и бюджетно и по щелчку пальца).

                        То это уже шмпп то ли без десанта то ли с десантом и обязательно доедет до передовой в отличии от "теперяшних" (и опять все у вас бытро и бюджетно и по щелчку пальца не взирая на отсутствие необходимого модуля).

                        Ну и т.д.
                      14. 0
                        10 октября 2025 18:53
                        Цитата: Инж Мех
                        То Вы до 15± чел напихать хотите в полностью перебранный корпус и СУ от танка на хранении (и все у вас бытро и бюджетно и по щелчку пальца).

                        Это рассматривались варианты решения задачи быстрого насыщения воюющей Армии высокозащищёнными ТБТР и предлагался к рассмотрению и в качестве примера ТБТР-64 харьковских конструкторов , которые сделали такую машину ещё в начале прошлого десятилетия . 14 человек десанта туда помещаются если в десантном отделении не индивидуальные кресла , а сплошные "лавки\диваны" по бортам . Нечто подобное с ёмкостью десантного отделения у БТРД "Ракушка" (хоть там и другая компановка) . И предлагал я воспользоваться этим опытом ещё задолго до СВО предвидя характер боевых действий предстоящих в будущем . Позже для Вас повторил .
                        Но у такого переделанного корпуса есть свои проблемы - слишком много сварных работ и переделок . И проблема с двигателем - у нас нет такого компактного оппозитного двигателя как на ХТЗ . Поэтому в последующем пришло понимание , что ТБТР целесообразней делать всё же с нуля - переднемоторным с кормовой аппарелью на шасси и с двигателем от Т-90 . И именно такой ТБТР и сделал УВЗ . Надеюсь скоро будет в войсках .
                        А для боевого\огневого усиления штурмовой пехоты изначально предлагалось использовать ТБМП переквалифицировав её в ШМПП (по выполняемым задачам - поддержка штурмовой пехоты) . Но "Терминатор" дорог , сложен и тогда ещё не был в серии , а завод гнал танки . Следовательно для того , чтоб организовать выпуск таких ШМПП с БМ "Терминатора" целесообразно испольховать проект БМПТ-72 на готовом шасси от Т-72 первых модификаций , взяв их с хранения .
                        Но появились возражения - гранатомёт всё же нужен , а вот две пушки уже показали свою избыточность . И вот тогда чтоб не устраивать новых НИОКР и не ваять новый модуль было предложено воспользоваться БМ "Курганца" , у которого одна 30 мм. пушка , пулемёт 7,62 мм. , гранатомёт на затылочной части модуля для навесной стрельбы и 4 ПТУР (как и у БМПТ) - всё то что и необходимо для оптимальной БМПТ\ШМПП . И опыт модернизации старых танков для Алжира нам в помощь , хотя там ставили вместо башни БМ "Бережок" на подиуме , а в нашем случае следует установить БМ "Курганца" . Простое и достаточно быстрое решение , и ставить такой модуль и подиум можно на обычном ремзаводе .
                        Следующая ступень развития этой темы - у БМ "Курганца" весь боекомплект собственно в модуле , а не в боевом отделении , следовательно всё пространство боевого отделения остаётся свободным и если его несколько приподнять (коробчатый подиум) и сделать задний люк как у БМП-3 и у БМОТ , то можно разместить внутри и несколько человек десанта . Но не для десантирования их в бою , а для возможности подобрать штурмовиков на поле боя для эвакуации при надобности . Т.е. это уже как опция , ибо внутреннее пространство позволяет . Как необязательная опция .
                        Вот такие варианты решения вопроса быстрого получения ШМПП из старых и битых в башню танков . Получается быстро , недорого , из имеющихся в наличии и производстве компонентов . И только как решение военного времени .
                        Для мирного же времени - просто ТБТР и ТБМП на его базе с модулем "Курганца" .
                        Цитата: Инж Мех
                        То это уже шмпп то ли без десанта то ли с десантом и обязательно доедет до передовой в отличии от "теперяшних"

                        "Теперяшних" у нас вовсе нет никаких . Нет у нас ни ТБТР , ни ТБМП , и БМПТ в классическом облике кот наплакал . Я просто предложил несколько вариантов решения вопроса , сделал анализ целесообразности каждого и сделал вывод о оптимальном решении данного вопроса именно сейчас - в условиях текущего военного конфликта высокой интенсивности .
                        Цитата: Инж Мех
                        2. Кстати о доездах.
                        Почему ТБТР и ТБМП в таком случае доехать то должны!?

                        У них шансов гораздо больше - разнесённое бронирование борта и крыши , динамическая защита "Контакт-5" и "Кактус" + мангалы . Такой позиционный тупик по типу ПМВ в следующем конфликте (надеюсь) больше не повторится . Мы по сути по сей день продолжаем находиться в состоянии "стратегической обороны" и все наши "наступления" , это осуществление стратегии фронтира . И в такую стратегическую оборону мы перешли по необходимости привести свои ВС в надлежащее качество и развернуть численно . Никаких наступательных\стратегических наступательных операций наш ГШ до сих пор не предпринимал . Движение фронтира , это не наступление . Это изматывание и выдавливание . Я не за и не против такого решения , ибо состояние наших ВС , резервов , ресурсов , данных разведки , политическая составляющая - ко всему этому у нас доступа нет , поэтому и правильно оценить мы не можем . Только со временем . Но воевать нам придётся ещё долго , поэтому предложенные мной меры и решения считаю наиболее рациональными , наиболее быстрыми в реализации и ресурсов на это у нас точно хватит .
                      15. 0
                        11 октября 2025 04:30
                        Цитата: bayard


                        1. "Теперяшних" у нас вовсе нет никаких . Нет у нас ни ТБТР , ни ТБМП , и БМПТ в классическом облике кот наплакал. ... У них шансов гораздо больше - разнесённое бронирование борта и крыши , динамическая защита "Контакт-5" и "Кактус" + мангалы
                        1.1. Но не для десантирования их в бою , а для возможности подобрать штурмовиков на поле боя для эвакуации при надобности

                        2. "Терминатор" дорог , сложен и тогда ещё не был в серии , а завод гнал танки .

                        3. И в такую стратегическую оборону мы перешли по необходимости привести свои ВС в надлежащее качество и развернуть численно .

                        .


                        В общем все ниже перечисленное - это по сути риторические вопросы.

                        1. А почему их нет то уже как 30+ лет спустя победоносного триумфального процветания демократии на одной отдельно взятой территории!? И спустя 11 лет после майдана и 5 лет после успешного завершения программы 2020. (Не трудитесь отвечать публично)

                        БМПТ-АГС доезжают или нет? Если да, то не является ли "лучшее" в вашей версии врагом хорошего? Если да, то почему не исполнить "мою прихоть-фантазию" с десантным модулем сзади.

                        Танки доезжают или нет!? Если нет, то в чем вы видите принципиальное отличие танков от вашей хотябы ШМПП-КУРГАНЕЦ и БМПТ-АГС. Возможно ТБТР замангаленый до нельзя и доедет.

                        Так уже ж есть почему-то обязательно доезжающий ТБТР! зачем это!?

                        2. Так может он лучше чем танк, особенно для сегодняшних реалий? Вы в курсе, что его конструктор оценивал его как машину лучше танка и способного вполне выиграть дуэль с арматой? А вы хотите его кастрировать, лишив независимых АГСов, и сделать недотанк, мотивируя это удешевлением. Но кажется все чего вы добьетесь - это те же потери экипажей (если их вообще удсться нанять в таких количествах) (которые невосполнимы лет 18ть и гораздо дороже в итоге, но кто это считает!?).

                        3. (риторикосаркастически, как СтратЭгу с большой буквы С === необязательно отвечать). Что мешало это (привести свои ВС в надлежащее качество и развернуть численно) сделать предыдущие 11 лет? И вообще ликвидировать саму возможность сво 11 лет назад.

                        Ну в общем ваш проЭкт шмпп продолжает не выдерживать никакой критики и пригоден только для бедных с отсутствием демографических проблем. На тбтр будем посмотреть если он вообще появится в товарных количествах и необходимых качествах
                      16. 0
                        11 октября 2025 08:47
                        Цитата: Инж Мех
                        А почему их нет то уже как 30+ лет спустя победоносного триумфального процветания демократии

                        Потому что "демократия" , это форма государственного управления , позволяющая захватившей власть и собственность группировки удерживать эту власть через сменных подставных наёмных менеджеров .
                        У тех , кто владеет цели и задачи абсолютно другие чем у Социума и они крайне редко пересекаются . Война - тот редкий случай когда интересы собственников и Социума пересекаются хоть в чём-то .
                        Всё что интересует собственников (как сформулировал ещё в 90-х А.Чубайс) - "оптимизация издержек" . Именно поэтому собственники стремились иметь Маленькую армию с численностью СВ 280 тыс. списочного состава , при численности Росгвардии 350 тыс. , уверенные что "на ядерную державу никто не нападёт".

                        Цитата: Инж Мех
                        БМПТ-АГС доезжают или нет? Если да, то не является ли "лучшее" в вашей версии врагом хорошего?

                        laughing Ничего себе Вы напутали . Лучшим как раз является БМПТ "Терминатор" в полной комплектации . Именно он - лучший .
                        Но дорогой .
                        За цену одного "Терминатора" можно получить :
                        - 4 шт. БМПТ-72 (без АГС) , или
                        - 3 шт. ШМПП с модулем "Курганца" (и тремя АГС).
                        Вот из этого соотношения и надо смотреть - что лучшее , а что хорошее . За цену одного "Терминатора" (примерно по прикидкам) можно получить новый ТБТР + ШМПП , либо ТБТР + БМПТ-72 . Поэтому БМПТ - "лучшее" , а ТБТР + ШМПП - "ХОРОШЕЕ" .
                        Такова логика и экономика войны .
                        Четыре БМПТ-72 или три ШМПП по любому лучше на поле боя , чем один навороченный "Терминатор" .
                        Цитата: Инж Мех
                        почему не исполнить "мою прихоть-фантазию" с десантным модулем сзади.

                        Да их (нечто подобное) уже колхозят во фронтовых мастерских . Но это именно из за отсутствия нормального ТБТР . И если противник узнает , что у наших штурмовых танков под супер-мангалом появился "ящик с десантом" , они именно туда и будут бить - одним попаданием выбивается десант в ящике и поражается двигатель кумулятивной струёй . Даже одной стандартной "морковкой" на FPV.
                        Поэтому на фронте за неимением не просто "лучшего" , а в принципе - не имея ничего , колхозят уже подобные ящики . Но это не решение вопроса , а заметание проблемы под ковёр . В войсках должен появиться нормальный ТБТР .
                        А ШМПП - временное и быстрое решение проблемы отсутствия ТБМП . Здесь и сейчас - во время войны .
                        Цитата: Инж Мех
                        Вы в курсе, что его конструктор оценивал его как машину лучше танка и способного вполне выиграть дуэль с арматой?

                        Да , я слышал его . Но он задумывал свою машину как серию машин с разной специализацией . Для штурмов и поддержки пехоты в бою , для действий из засад дальнобойными ПТУРами , для боевого охранение колонн на марше , в т.ч. с функцией ПВО . Он это всё разрабатывал для Большой Армии Богатой Страны .
                        А для Маленькой армии Небогатой страны с Богатыми собственниками , такое разнообразие и специализация - излишни и слишком затратны . У них - оптимизация .
                        Цитата: Инж Мех
                        Что мешало это (привести свои ВС в надлежащее качество и развернуть численно) сделать предыдущие 11 лет? И вообще ликвидировать саму возможность сво 11 лет назад.

                        Отсутствие Суверенитета , Воли , неготовность экономики пережить изоляцию (случился бы шоковый эффект с внутренними взрывами) , стремление договориться и поделить сферы влияния . А над всем этим - не просто незавершенное , а едва начинающееся перевооружение Армии . В 2014 г. ВС РФ к таким подвигам были точно не готовы . Да и рассабаченное общество . Восставший Надод Донбасса и Новороссии - был готов . Но как говорил товарищ Бисмарк :
                        "Намеренье - ничто . Способность - ВСЁ" .
                        У ВС РФ и России в целом , сегодня способностей не в пример больше , чем даже на начало СВО , не говоря уже про 2014 г.
                        И не ищите ответа у военных или ГШ , у них и у страны есть "хозяева и собственники" , военные и "власти" лишь исполнители воли и действуют в заданных рамках . Как "наёмные менеджеры" - со слов одного известного политика .
                        А от военных кроме мата в ответ на ваши вопросы вы вряд ли что услышите .

                        Цитата: Инж Мех
                        ваш проЭкт шмпп продолжает не выдерживать никакой критики и пригоден только для бедных с отсутствием демографических проблем

                        Сказал предложивший приварить коробку для десанта к корме танка ...
                        ШМПП - предложение и решение вопроса В ВОЕННОЕ ВРЕМЯ .
                        А для мирного времени я бы ничего кроме ТБТР и ТБМП на его базе (с модулем "Курганца") и не предлагал .
                      17. 0
                        11 октября 2025 09:07
                        Цитата: bayard

                        За цену одного "Терминатора" можно получить :
                        - 4 шт. БМПТ-72 (без АГС) , или
                        - 3 шт. ШМПП с модулем "Курганца" (и тремя АГС).
                        Вот из этого соотношения и надо смотреть - что лучшее , а что хорошее . За цену одного "Терминатора" (примерно по прикидкам) можно получить новый ТБТР + ШМПП , либо ТБТР + БМПТ-72 . Поэтому БМПТ - "лучшее" , а ТБТР + ШМПП - "ХОРОШЕЕ" .
                        Такова логика и экономика войны .
                        Четыре БМПТ-72 или три ШМПП по любому лучше на поле боя , чем один навороченный "Терминатор" .
                        ...
                        А ШМПП - временное и быстрое решение проблемы отсутствия ТБМП . Здесь и сейчас - во время войны .
                        ...
                        ШМПП - предложение и решение вопроса В ВОЕННОЕ ВРЕМЯ .
                        А для мирного времени я бы ничего кроме ТБТР и ТБМП на его базе (с модулем "Курганца") и не предлагал .


                        Последняя фраза вообще вводит в ступор. Так нужен этот ТБТР в текущее время или нет, если да, то какое это время?

                        Те кто колхозят коробки здесь и сейчас - военные, ругающие меня и себя матом!? Или это другое?

                        "В коробки будут и бить" не распространяется на одну большую коробку = тбтр и его двигатель, гусеницы и т.д.

                        ШМПП с модулем "Курганца" (и тремя АГС). Продемонстрируете в виде отдельных существующих не только в вашем воображении элементов?

                        Ваши подсчеты явояются тоько вашими подсчетами а не конечным ценником реального исполнителя.

                        Кто вас вообще икспердом здесь выбрал? Как это возможно!?

                        Пока все, буду читать ваш следующий ответ.
                      18. 0
                        11 октября 2025 10:41
                        Цитата: Инж Мех
                        Последняя фраза вообще вводит в ступор.

                        Это от развитости интеллекта , кругозора и почти полного отсутствия опыта . Поэтому повторю свой вопрос - сколько Вам лет ?
                        Цитата: Инж Мех
                        Те кто колхозят коробки здесь и сейчас - военные, ругающие меня и себя матом!?

                        Они о Вашем существовании и не подозревают .
                        Цитата: Инж Мех
                        "В коробки будут и бить" не распространяется на одну большую коробку

                        Это будет совсем другая коробка - с мощным бронированием лба при переднем размещении двигателя , мощным разнесённым бронированием борта , с двойной разнесённой крышей , под динамической защитой , решетками и мангалами . Это будет сложная к поражению цель не имеющая внутри себя детонирующего при пробитии БК .
                        Цитата: Инж Мех
                        ШМПП с модулем "Курганца" (и тремя АГС).

                        У Вас осеннее обострение ? Три АГС у трёх ШМПП на стоимость одного БМПТ "Терминатор" .
                        Цитата: Инж Мех
                        Ваши подсчеты явояются тоько вашими подсчетами а не конечным ценником реального исполнителя.

                        Это примерный подсчёт . Из расчёта что один новый Т-90М стоит как четыре модернизированных Т-72Б3М . Ибо ТБТР "Терминатор" по стоимости соответствует примерно\не менее новейшей версии Т-90М .
                        Цитата: Инж Мех
                        Продемонстрируете в виде отдельных существующих не только в вашем воображении элементов?

                        Боевой модуль "Курганца" находится в опытном производстве и установлен на опытную партию БМП "Курганец-25" , на некоторое количество ТБМП Т-15 (как один из вариантов БМ для этой машины) , на опытную партию БМП-3М "Манул" . Развернуть серийное производство из опытного проще , чем сочинять какой-то новый модуль . К тому же на ШМПП модули могут быть разными в зависимости от назначения машин и выбранного характера боевого применения , но БМ от "Курганца" подходит в наибольшей степени .
                        Цитата: Инж Мех
                        Кто вас вообще икспердом здесь выбрал?

                        Администрация сайта . Заявок я точно не подавал . Статус "авторитет" (не "эксперт") назначается сроком на один месяц , но может быть продлён . Или Вы об этом не читали ? Мне присуждали такой статус не раз и в совершенно разных областях , предпоследний раз вообще в разделе БПЛА . Хотя моя военная специализация совершенно в другой области .
                        А Вы точно инженер-механик ? Образование то закончили ? Судя по незрелости мыслей - нет . И при этом явное отсутствие какого-либо опыта .
                        Или Вы бот от ИИ и тут просто развлекаетесь ?
                      19. 0
                        11 октября 2025 11:11
                        Цитата: bayard
                        Цитата: Инж Мех
                        Последняя фраза вообще вводит в ступор.

                        Это от развитости интеллекта , кругозора и почти полного отсутствия опыта . Поэтому повторю свой вопрос - сколько Вам лет ?
                        Цитата: Инж Мех
                        Те кто колхозят коробки здесь и сейчас - военные, ругающие меня и себя матом!?

                        Они о Вашем существовании и не подозревают .
                        Цитата: Инж Мех
                        "В коробки будут и бить" не распространяется на одну большую коробку

                        Это будет совсем другая коробка - с мощным бронированием лба при переднем размещении двигателя , мощным разнесённым бронированием борта , с двойной разнесённой крышей , под динамической защитой , решетками и мангалами . Это будет сложная к поражению цель не имеющая внутри себя детонирующего при пробитии БК .
                        Цитата: Инж Мех
                        ШМПП с модулем "Курганца" (и тремя АГС).

                        У Вас осеннее обострение ? Три АГС у трёх ШМПП на стоимость одного БМПТ "Терминатор" .
                        Цитата: Инж Мех
                        Ваши подсчеты явояются тоько вашими подсчетами а не конечным ценником реального исполнителя.

                        Это примерный подсчёт . Из расчёта что один новый Т-90М стоит как четыре модернизированных Т-72Б3М . Ибо ТБТР "Терминатор" по стоимости соответствует примерно\не менее новейшей версии Т-90М .
                        Цитата: Инж Мех
                        Продемонстрируете в виде отдельных существующих не только в вашем воображении элементов?

                        Боевой модуль "Курганца" находится в опытном производстве и установлен на опытную партию БМП "Курганец-25" , на некоторое количество ТБМП Т-15 (как один из вариантов БМ для этой машины) , на опытную партию БМП-3М "Манул" . Развернуть серийное производство из опытного проще , чем сочинять какой-то новый модуль . К тому же на ШМПП модули могут быть разными в зависимости от назначения машин и выбранного характера боевого применения , но БМ от "Курганца" подходит в наибольшей степени .
                        Цитата: Инж Мех
                        Кто вас вообще икспердом здесь выбрал?

                        Администрация сайта . Заявок я точно не подавал . Статус "авторитет" (не "эксперт") назначается сроком на один месяц , но может быть продлён . Или Вы об этом не читали ? Мне присуждали такой статус не раз и в совершенно разных областях , предпоследний раз вообще в разделе БПЛА . Хотя моя военная специализация совершенно в другой области .
                        А Вы точно инженер-механик ? Образование то закончили ? Судя по незрелости мыслей - нет . И при этом явное отсутствие какого-либо опыта .
                        Или Вы бот от ИИ и тут просто развлекаетесь ?


                        Просто пытаюсь раобраться в ваших оптимальных решениях.

                        Вот на этой фотографии присутствует модуль или нет?

                        Если да то он слева или справа?

                        Что из этих двух транспортных средств бмп манул?

                        Спасибо.

                        Хорошо бы если вы бы предоставляли иллюстрации в поддержку ваших идей особенно когда вас просят

                        Или ак то четче тезисы свои оформлять в ответах.
                      20. 0
                        11 октября 2025 11:29
                        Цитата: Инж Мех
                        Просто пытаюсь раобраться в ваших оптимальных решениях.

                        А где Вы работаете ?
                        Цитата: Инж Мех
                        на этой фотографии присутствует модуль или нет?

                        Если да то он слева или справа?

                        А Вы разве сами не знаете ? Это же очевидно и описаний БМП-3М достаточно с более качественными фотографиями . Как есть описание этого модуля в составе БМП "Курганец-25" .
                      21. 0
                        11 октября 2025 11:46
                        Цитата: bayard
                        Цитата: Инж Мех
                        Просто пытаюсь раобраться в ваших оптимальных решениях.

                        А где Вы работаете ?
                        Цитата: Инж Мех
                        на этой фотографии присутствует модуль или нет?

                        Если да то он слева или справа?

                        А Вы разве сами не знаете ? Это же очевидно и описаний БМП-3М достаточно с более качественными фотографиями . Как есть описание этого модуля в составе БМП "Курганец-25" .


                        Так предоставьте фото/ссылку на фото на ДУБМ ДЛЯ курганца и чего-то там еще с 30мм АП и АГС сзади!

                        Осталось спросить: на кого работаешь!?

                        Видимо статус иксперда здесь – это своего рода клеймо.
                      22. 0
                        11 октября 2025 12:24
                        Цитата: Инж Мех
                        Осталось спросить: на кого работаешь!?

                        И в самом деле - на кого ?
                        Но судя по тому КАК Вы , молодой человек , разбираетесь в боевых модулях нашей бронетехники , и этот вопрос излишний .
                        Цитата: Инж Мех
                        Видимо статус иксперда здесь – это своего рода клеймо.

                        Вот оно - потекло , посочилось .

                        Я не эксперт и не специалист бронетанковых войск , просто комментирую материалы и на эту тему .
                        Как и многие на этом сайте .
                      23. 0
                        11 октября 2025 07:39
                        Цитата: bayard
                        И вот тогда чтоб не устраивать новых НИОКР и не ваять новый модуль было предложено воспользоваться БМ "Курганца" , у которого одна 30 мм. пушка , пулемёт 7,62 мм. , гранатомёт на затылочной части модуля для навесной стрельбы и 4 ПТУР (как и у БМПТ) - всё то что и необходимо для оптимальной БМПТ\ШМПП . .


                        Кстати говоря, что это за зверь такой да еще необитаемый? А то я привык доверять СтратЭгам.

                        Спасибо.
                      24. 0
                        11 октября 2025 09:07
                        Необитаемый БМ иначе - дистанционно управляемый .
                        Цитата: Инж Мех
                        А то я привык доверять СтратЭгам.

                        Сколько Вам лет , юноша ?
                      25. 0
                        11 октября 2025 09:09
                        Цитата: bayard
                        Необитаемый БМ иначе - дистанционно управляемый .
                        Цитата: Инж Мех
                        А то я привык доверять СтратЭгам.

                        Сколько Вам лет , юноша ?


                        У этого модуля есть фото и обозначение?

                        Выводить меня на эмоции провокативными вопросами - бесполезная трата времени, дяденька!?
                      26. 0
                        11 октября 2025 12:18
                        Цитата: Инж Мех
                        Выводить меня на эмоции провокативными вопросами - бесполезная трата времени, дяденька!?

                        Цитата: bayard
                        Вы бот от ИИ и тут просто развлекаетесь ?

                        Цитата: Инж Мех
                        У этого модуля есть фото и обозначение?

                        Ну Вы же "Инж Мех" , должны сами разбираться .
                      27. 0
                        11 октября 2025 14:48
                        Цитата: bayard
                        Цитата: Инж Мех
                        Выводить меня на эмоции провокативными вопросами - бесполезная трата времени, дяденька!?

                        Цитата: bayard
                        Вы бот от ИИ и тут просто развлекаетесь ?

                        Цитата: Инж Мех
                        У этого модуля есть фото и обозначение?

                        Ну Вы же "Инж Мех" , должны сами разбираться .



                        Да уж.
                        Как все ж таки низок нынче на этом сайте
                        уровень икспердизы и галюцинирующих несуществующими ДУБМ стратЭгов.

                        Хотя уже вроде пора перестать удивляться.

                        Осталось только молиться за пассажиров бронеавтобусов, одобренных по картинке этими псевдо икспердами.
                      28. 0
                        11 октября 2025 19:46
                        Цитата: Инж Мех
                        Как все ж таки низок нынче на этом сайте
                        уровень икспердизы и галюцинирующих несуществующими ДУБМ стратЭгов.

                        Цитата: Инж Мех
                        по картинке этими псевдо икспердами.

                        Таки прорвало бота на эмоции . laughing
                      29. -1
                        12 октября 2025 02:36
                        Цитата: bayard

                        Таки прорвало бота на эмоции .

                        Цитата: bayard
                        И вот тогда чтоб не устраивать новых НИОКР и не ваять новый модуль было предложено воспользоваться БМ "Курганца" , у которого одна 30 мм. пушка , пулемёт 7,62 мм. , гранатомёт на затылочной части модуля для навесной стрельбы и 4 ПТУР (как и у БМПТ) - всё то что и необходимо для оптимальной БМПТ\ШМПП . .

                        laughing


                        Вы лучше фотографией (если он не существует в реале, то схемкой/чертежем/описанием не вашего авторства) этого ДУБМ ответьте и сразу принесу мои глубочайшие извинения за оскорбление Вашей тонкочувствующей стратэгической натуры.

                        Спасибо
                      30. 0
                        12 октября 2025 09:34
                        Мою "тонкую натуру" бронебойным не пробить .
                        Цитата: Инж Мех
                        лучше фотографией (если он не существует в реале, то схемкой/чертежем

                        И не надейтесь .
                      31. 0
                        12 октября 2025 16:06
                        Цитата: bayard
                        Мою "тонкую натуру" бронебойным не пробить .
                        Цитата: Инж Мех
                        лучше фотографией (если он не существует в реале, то схемкой/чертежем

                        И не надейтесь .


                        Ну это уже очевидно всем.

                        Минус не забудьте поставить, когда от галюцинаций с АГСами на ДУБМ Курганца немного отпустит.

                        Только убедитесь, что это минус реальный, а не вооброжаемый вами.

                        Спасибо.
        2. -4
          1 октября 2025 12:05
          Операторы вооружение скорее все пушки, агс, пулемет, птуры этим надо рулить ещё и за полем боя наблюдать. Хотя согласен надо сокращать людей электроники добавлять
      2. +2
        1 октября 2025 12:53
        В этом варианте, говорили, нет операторов гранатометов, их убрали. Так, что троим там места более, чем достаточно теперь.
        1. +1
          1 октября 2025 12:57
          если видео относится к новости на прямую, то там виден ствол АГС..значит операторы есть
          1. -1
            1 октября 2025 13:03
            Непохоже, на видео нет решеток противодроновых, а они по факту есть, скорее всего демонстрационное видео.
            По любому вряд-ли сейчас туда будут 5 человек сажать, там отстреляться по цели и укрыться по быстрому. Терминатор-2 без АГСов, его, как раз и доработали с учетом боев, скорее всего его и делают.
            1. +1
              1 октября 2025 14:41
              Цитата: Evgeny64
              Терминатор-2 без АГСов, его, как раз и доработали с учетом боев, скорее всего его и делают.
              Не надо своё личное мнение выдавать как аксиому. У нас на вооружении состоят сейчас только БМПТ "терминатор" (экипаж 5 человек),а не его версия для не богатых БМПТ-72 («Терминатор-2», с экипажем в 3 человека).
              Основная функция БМПТ - это поиск танкоугрожающих и уничтожение целей, для чего там и дополнительных 2-е пары глаз, с хорошей оптикой и гранатомётами.
    2. -4
      1 октября 2025 12:00
      Также как в БМПТ-90 размещали пять членов экипажа, также разместили трех в БМПТ-72, убрали автомат заряжания и боекладки для снарядов 125мм.
    3. +2
      1 октября 2025 12:04
      Цитата: topol717
      Если башни нет, то как разместили 3х человек экипажа? или экипаж стал всего 2е?

      Экипаж 5 человек
    4. 0
      1 октября 2025 12:19
      В состав экипажа БМПТ входят 5 человек — командир, наводчик, механик-водитель и два оператора курсовых гранатомётных установок...все в корпусе :)
  2. +2
    1 октября 2025 11:53
    Сомневающиеся, в правильности применения данной техники на СВО, минусовали. А, что скажите, когда отгрузили очередную партию БМПТ и отзывы с линии фронта об ее применении?
    1. +3
      1 октября 2025 12:03
      Цитата: Sergey39
      Сомневающиеся, в правильности применения данной техники на СВО, минусовали. А, что скажите, когда отгрузили очередную партию БМПТ и отзывы с линии фронта об ее применении?

      hi А что сказать, машина востребована и это есть главный аргумент. Меня как то тоже палками закидали, по поводу моих размышлений о перспективности применения БМПТ.. smile
      Ничего пережил.. smile
    2. -3
      1 октября 2025 12:40
      На войне всякое приличное вооружение ценно. Положительные отзывы приходят и о старинных 62-ках, хотя и модернизированных, а БМПТ мощная машина.
      Но.... как уже не раз писалось, в настоящее время, основную поддержку танкам нужно оказывать не огнем 2А42 и даже не пуском мощных ПТУР. Танки нужно поддерживать защитой против дронов и огнем по противнику в укрытому за зданиями, складками местности и т.д.
      Вот если бы ВПК смог установить на БМПТ СВЧ оборудование , подобное оборудованию машины Листва, да аэрозольную мощную аппаратуру, да модуль 57-мм со снарядом с дистанционным подрывом.... Ведь это все не фантастика, образцы есть и нас, и за рубежом.
    3. 0
      2 октября 2025 00:56
      Встречал упоминание, что БМПТ производится малой партией с 2022 года. А что нам не показывают, - так это не значит, что этого нет. Все-таки военные действия, а не реалити-шоу.
  3. 0
    1 октября 2025 11:53
    Впечатляют кадры её применения на СВО прям таки "адский косильщик"
  4. -6
    1 октября 2025 12:04
    Интересно куда они противодроновые решетки поставили на птуры сверху?) есть подозрение что обычный вог, сброшенный на птуры сверху, может делов наворотить
    1. +3
      1 октября 2025 12:10
      Цитата: Умник
      Интересно куда они противодроновые решетки поставили на птуры сверху?) есть подозрение что обычный вог, сброшенный на птуры сверху, может делов наворотить
      1. -7
        1 октября 2025 12:37
        в комплект ещё нужно было добавить сертификат танкистам на пару сотен тысяч рублей, чтобы уже в полевых условиях дальше защиту колхозить не за свои кровные
  5. 0
    1 октября 2025 12:23
    По опыту СВО и название надо поменять с БМПТ на БМПП. Танки в основном работают с ЗОП, в атаку почти не ходят. А вот штурмовую пехоту поддержать шквалом огня - самое то. Если проблему дронов решить.
    1. -3
      1 октября 2025 13:52
      По опыту СВО пехота в атаку ходит (4-6 человек) на "буханках", мотоциклах, электросамокатах и иногда по трубам. Это корыто таскать за собой, ещё и охранять, ей даром не нужно. Оно эффективно только на камеры выкашивать берёзовые рощи. Если проблему дронов решить война уже совсем другая будет. Так что алаверды- ложись поспи и всё пройдёт.
  6. -6
    1 октября 2025 13:09
    Как можно создать отличную технику если даже в помещении для погрузки на платформу такой бардак и разруха, также и на сварные швы без страха не взглянешь
    1. 0
      1 октября 2025 16:37
      Цитата: Konnick
      и на сварные швы без страха не взглянешь

      Издержки массового производства . УВЗ загружен под завязку , швы зачищать некому . До для съёмок ролика могли хотя бы в порядок погрузочный бокс привести . Но продукция отгружается , БМПТ пошли в серию , а значит место и задачи в боевых порядках им нашли .
      Цитата: Ratmir_Ryazan
      Опыт СВО показал, что армии срочно нужна тяжёлая БМП

      ТБМП на УВЗ уже вроде как сделали , второй год доводят . Если получится , будет и ТБМП , для этого БМ от "Курганца" достаточно поставить . А на ТБТР достаточно и БМ от БТР-82А .
    2. +1
      1 октября 2025 20:21
      Нормальные швы...обычные. В Советских бывали и похуже. Особенно внутри. Я себе о такой шов так руку разодрал - пол года шрам был. И одежду рвет. С другой стороны, после ремонта швы будут еще хуже, да и при транспортировке люки заваривают и тд и тп.

      Гараж тоже обычный, а где вы видели лучше? Бруски там сбоку валяются, но они нужные - их будут под гусеницы подбивать и тросами скручивать для транспортировки по жд.
      1. -1
        1 октября 2025 20:31
        Где я работал таких швов не было . Не было такого и на площадке отгрузки. У меня 3 уроаень по НАКС
  7. -8
    1 октября 2025 13:33
    оборудовали технику противодроновыми решетками


    Это вот эта ничтожная сеть из цепей спереди и сзади и есть защита от дронов?!

    Уважаемые инженеры УВЗ, а вы испытали свою защиту на полигоне? Хоть один расчёт БЛА пробовал атаковать вашу поделку?

    Прилипили фиговый листочек и нормально, главное почаще писать, что все это с учётом опыта СВО.

    Опыт СВО показал, что армии срочно нужна тяжёлая БМП, с танковой бронёй, необитаемой башней, мотором спереди, сзади с аппарелью, минным тралом, РЭБ и решетками по ВСЕЙ проекции БМП сверху и с боков!!!

    БМПТ - армии не нужна, дайте тяжёлую БМП!!!
    1. -1
      1 октября 2025 19:27
      Тяжелая БМП на базе легкого танка..внимание на гусянку
      1. 0
        1 октября 2025 19:52
        Наши БТР и БМП, сравнение старых с новыми (БТР-90, на вооружение был принят, но в Армию не закупался (Сердюковские времена))
        фото-1 БТР-90 и БТР-82
        фото-2 «Бумеранг» и БТР-82
        фото-3 БМП-1 и «Курганец-25»
        1. 0
          1 октября 2025 20:09
          Ну Курганец и особенно Бумеранг - слишком уж огромные. Новый БТР на базе старого, но с обвесом, показали, но не делают.У полосатых похожий по размерам.
  8. +1
    1 октября 2025 19:14
    30мм можно применить только при контактных штурмах. Реальная дальность не больше 2км, даже скорее 1,5.
    Думаю на Терминатор надо начать ставить новую авто пушку 57мм - это даст дальность и позволит бить осколочными.