Спасибо, дождались: отправляемые на СВО танки получили защиту надгусеничных полок

Вместо введения
Начать, пожалуй, нужно с банальщины, которая круглосуточно звенит из всех утюгов. А заключается она в том, что «Уралвагонзавод» кратно нарастил выпуск танков для нужд фронта, производя их как с нуля, так и путём восстановления и модернизации машин, снятых с хранения. И здесь никаких противоречий не прослеживается — тагильчане реально пашут в три смены и выдают на гора технику для действующих войск.
Вот только есть одна существенная проблема: в условиях войны бронетехнику нужно очень оперативно дорабатывать под существующие угрозы, дабы она не потеряла свою актуальность окончательно. А с этим делом у нас, мягко говоря, возникла некоторая тягомотина, которая длится и по сей день.
Речь, конечно, не о вожделенных комплексах активной защиты — на них, если бы они пошли в серию, при таком массовом выпуске танков никакого бюджета не хватит, причём не только российского, и это без учёта обучения экипажей и ремонтников обращению с такими системами. Всё в данном случае проще: «дыры» в защите танков закрывают с задержкой, которая порой длится очень долго.
Например, танки Т-72Б3 получили круговой «обвес» из динамической защиты только ближе к концу 2022 года, когда всем уже давно стало понятно, что стандартный комплект ДЗ танка образца 2016 года открывает немало уязвимых мест для кумулятивных средств поражения. А те же «рюкзаки» (позднее их место заняли металлические контейнеры) с доп. динамической защитой на бортах корпуса танков, которые срывало от контакта с препятствиями, были заменены на стальные контейнеры с нормальным креплением на цепях лишь в 2023 году.

Т-72Б3М обр. 2022 года с динамической защитой на надгусеничных полках. Перекрытие проекций минимальное. Она буквально ни от чего не защищает.
Наконец, лишь в этом году на танках Т-72Б3 и Т-90М (возможно, на Т-80БВМ тоже) появилась вменяемая защита надгусеничных полок — одно из существенных улучшений, которое с первого взгляда кажется какой-то мелочью. Его военные на фронте ждали очень и очень давно, перебиваясь лютыми кустарными поделками вместо нормальных промышленных средств.
А «вменяемая» она потому, что с началом специальной военной операции наши танки уже получили защиту надгусеничных полок, но крайне куцую в виде пары блоков динамической защиты над направляющими колёсами (ленивцами) в носовой части. Теперь же её, выглядящую как фиговый листочек, наконец-то дополнили, расширив забронированную зону на всю длину полок. Но обо всём по порядку.
Надгусеничные полки — лакомый кусок для дронов
С точки зрения функциональности надгусеничные полки танка (да не только танка), как конструктивная часть корпуса, весьма полезны. Они дополнительно защищают ходовую часть машины от различных разрушающих воздействий, уменьшают разброс пыли и грязи при движении танка, а также служат удобным местом для размещения внешних топливных баков, различного инструмента, ящиков ЗИП и проч.
Однако в эпоху широчайшего распространения дронов, когда опытный оператор беспилотной «жужжалки» с кумулятивной гранатой под брюхом может всадить эту смертельную машинку в любое мало-мальски открытое уязвимое место танка, надгусеничные полки становятся проблемой. В отличие от лба, бортов и даже кормы корпуса и башни, которые нынче прямо с завода максимально перекрываются блоками динамической защиты и прочими средствами, они максимально открыты для удара.

Условное изображение атак дронов в надгусеничные полки
При попадании кумулятивного заряда (на дроне) сверху вниз под небольшим углом в надгусеничную полку кумулятивная струя, преодолев её, без проблем пробивает борт корпуса танка. Как итог, с ненулевой вероятностью происходит поражение внутренних топливных баков с последующим пожаром, либо поражение боеукладки с детонацией или горением боекомплекта танка. Причём иногда не спасают даже такие кустарные методы, как «дреды», распушённые тросы, резиновые «лопухи» и даже «омангаливание» в виду большого запаса остаточной бронепробиваемости кумулятивных боеприпасов — особенно возрастом ПГ-7Л и младше.
Поэтому наши танкисты уже давно не заправляют топливом внешние баки на надгусеничных полках, так как наличие горючего в них ведёт к возникновению не особо приятных в плане последствий пожаров снаружи брони. А заодно пытаются максимально перекрыть надгусеничные полки от возможных атак дронов подручными средствами, начиная от заполнения пустых топливных баков песком и заканчивая даже кустарной установкой динамической защиты.
Что предложил «Уралвагонзавод»
Совсем недавно на сайте Федерального института промышленной собственности был опубликован патент УКБТМ, в котором, к слову, вскользь упоминается и наше «Военное обозрение», а конкретнее вот эта статья: Как спецоперация решила проблемы оснащения динамической защитой наших Т-72Б3. Так что на «УВЗ» нас, оказывается, тоже читают. Но суть не в этом.
Название у патента весьма длинное: «Способ дополнительной броневой защиты части корпуса шасси наземного бронированного транспортного средства, содержащего шасси с полками вдоль бортов его корпуса, предназначенными для размещения оборудования, имущества и дополнительной защиты». Однако за этой вереницей слов скрывается главное — описание защиты для надгусеничных полок.
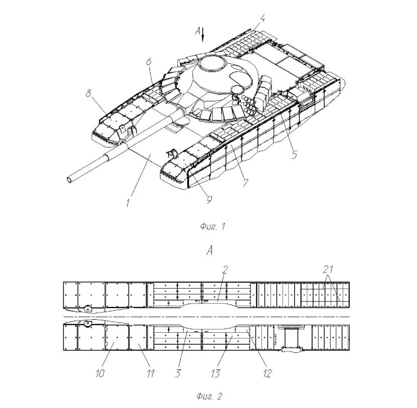
Она уже пошла в серию, что прекрасно видно на приложенных ниже изображениях. На них и Т-90М запечатлён, которого теперь, видимо, стоит называть Т-90М образца 2026 года. Есть и ещё более редкий «зверь», который вскоре станет массовым — Т-72А, модернизированный под стандарт Т-72Б3М образца 2022 года. Скоро, возможно, нечто подобное и на Т-80БВМ увидим.


Что же предложили и, главное, реализовали тагильчане?
Предложили фактически конструктор «лего», из которого можно строить нужную для потребностей военных защиту. Он состоит всего из четырёх главных деталей — блоков или модулей разного типоразмера, которые можно крепить на надгусеничные полки танков в дополнение к уже стоящей динамической защите на оных.
Первые два типа модулей — почти копия штатных блоков динамической защиты надгусеничных полок, которые устанавливаются, например, на Т-90М и Т-72Б3М. Они предназначены для крепления на надгусеничных полках ближе к носовой части корпуса танка. Блоки выполнены небольшими по высоте, чтобы обеспечить свободное перемещение пушки танка и хорошую обзорность с места механика-водителя. Основное их направление — защита отделения управления танка от кумулятивных средств поражения, хотя, в зависимости от угла попадания, они могут защитить и боевое отделение.

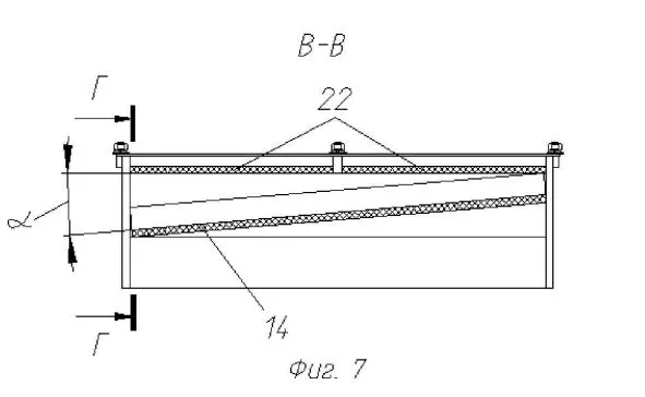
Модуль первого типа (в патенте — первого комплекта) для защиты надгусеничных полок танка в носовой части. 16 — крышка , 10 — защитный модуль первого комплекта.
Из-за своих габаритов эти блоки, конечно, много в себе вместить не могут. Это просто две металлические пластины, скрученные болтами. Тем не менее между ними можно разместить, например, какой-то инертный материал по типу резины или оргстекла, что превратит их в NERA — невзрывную «реактивную» броню, о действии которой можно почитать здесь. Либо, при желании, уместить между ними элементы привычной нам взрывной динамической защиты — и то, и другое окажет ощутимый эффект в защите от кумулятивных средств поражения.

Модуль второго типа (в патенте — второго комплекта) для защиты надгусеничных полок танка в носовой части. 17 — крышка , 11 — защитный модуль второго комплекта.
Третий и четвёртый выполнены уже в виде коробчатых прямоугольных контейнеров. Они могут устанавливаться на надгусеничных полках в районе боевого и моторно-трансмиссионного отделений. Несмотря на отличия по форме и размеру от предыдущих двух типов модулей, они не вылезают за габариты по высоте и обеспечивают свободное вращение башни.
Модуль третьего типа — это контейнер, внутри которого под углом расположен элемент NERA — сэндвич из двух стальных пластин и прослойки инертного материала между ними. При этом крышка модуля выполнена таким образом, что прямо в неё можно установить как дополнительные два сэндвича NERA, так и элементы штатной динамической защиты по типу 4С20 или 4С22, то есть сделать модуль комбинированным.


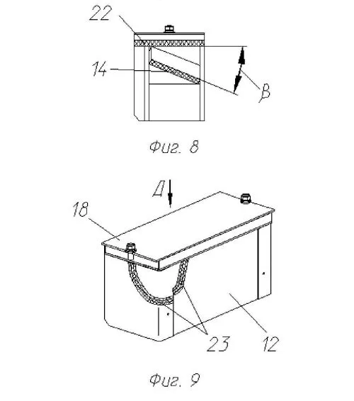
Модуль третьего типа (в патенте — третьего комплекта) для защиты боевого и моторно-трансмиссионного отделений. 14 — сэндвич NERA , 19 — крышка, 22 — сэндвичи NERA, либо элементы взрывной динамической защиты.
Модуль четвёртого типа фактически является уменьшенной копией модуля третьего типа. Внутри него тоже расположен бронепакет из NERA, а крышка позволяет разместить в себе элемент взрывной динамической защиты (уже в одном экземпляре) либо один дополнительный сэндвич по типу «сталь+резина/оргстекло+сталь».

Модуль четвёртого типа (в патенте — четвёртого комплекта). 14 — сэндвич NERA, 18 — крышка, 22 — сэндвич NERA или элементы динамической защиты, 23 — бронирование стенок контейнера
Причём, как говорится в патенте, бронепакетами можно оснастить и боковые стенки контейнеров, что улучшит защиту танка в приближённых к классическим углах обстрела, а не только сверху.
По сути, эти блоки или модули — и есть главное изобретение, так как благодаря им надгусеничные полки можно нашпиговать абсолютно разными средствами защиты. Иными словами, на «Уралвагонзаводе» создали упаковку, с содержимым которой можно играться в зависимости от поставленных задач.
Для примера ниже приведено изображение из патента, где на танке Т-72Б3 надгусеничные полки защищены комбинацией из штатной динамической защиты и всех четырёх типов модулей вышеописанной защиты.

1 — танк, 2 — правая надгусеничная полка, 3 — левая надгусеничная полка, 4 — правый фальшборт, 5 — левый фальшборт, 6 — правый экран встроенной бортовой динамической защиты (штатный), 7 — левый экран встроенной бортовой динамической защиты (штатный), 8 — динамическая защита в переднем отсеке правой полки (штатная), 9 — динамическая защита в переднем отсеке левой полки (штатная), 10 — защитный модуль первого комплекта, 11 — защитный модуль второго комплекта, 12 — защитный модуль четвёртого комплекта, 13 — защитный модуль третьего комплекта, 21 — скрепляющая проволока
Вывод
Что же можно сказать в качестве вывода?
Ну, наверное, надо сказать «спасибо, дождались». Танкисты на фронте уже давно ждали решения проблемы защищённости надгусеничных полок от атак беспилотных летательных аппаратов, перебиваясь порой самой лютой кустарщиной. И вот, наконец, на пятом году специальной военной операции это самое решение было найдено.
Надгусеничные полки действительно перекрываются практически по всей своей длине, что осложняет поражение танка в эти уязвимые места дронами-камикадзе. Вариативность оснащения блоков тоже подкупает, так что молодцы, нечего сказать. Единственный вопрос — слишком большая номенклатура модулей, которая явно внесёт сумятицу в плане снабжения и боевой эксплуатации.
Но тут особо не разгуляться. Геометрическая форма надгусеничных полок танков такова, что универсальные модули создать для них попросту невозможно.
Остаётся надеяться, что когда-то на «Уралвагонзаводе» найдут более удачную замену штатным заводским «мангалам», которыми танки серийно оснащаются уже не первый год, — штуковины эти не столь полезны, как хотелось бы, и порядком устаревшие, так как по факту защищают только от дронов, работающих на сброс боеприпасов.
Источник информации и изображений:
Патент RU2855547C1 «Уральского конструкторского бюро транспортного машиностроения»
Информация