Новая партия дронов «Гранат-4-Э» с модулем ГОЭСЦН поставлена в зону СВО

5 854 13
Новая партия дронов «Гранат-4-Э» с модулем ГОЭСЦН поставлена в зону СВО

Новая партия разведывательных беспилотников «Гранат-4-Э» поступила в войска, отгрузку изделий осуществил концерн «Калашников». Об этом сообщает пресс-служба концерна.

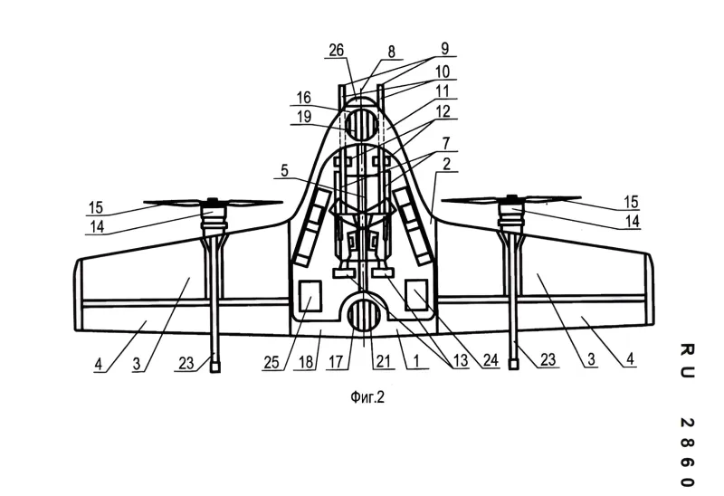
Новая партия разведывательных БПЛА «Гранат-4-Э» с модулем гиростабилизированной оптико-электронной системы целеуказания и наблюдения передана военным. Параметры поставки не раскрываются. Модуль ГОЭСЦН является ключевым элементом разведывательного комплекса «Гранат-4-Э», позволяя не только вести разведку, но и обеспечивать лазерное целеуказание для высокоточных боеприпасов с пассивной лазерной головкой самонаведения в ближней тактической зоне. В зоне СВО данный беспилотник активно используется вместе с дронами-камикадзе «Ланцет».



В состав ГОЭСЦН входит опорно-поворотная платформа, тепловизор и видеокамеры. Модуль оснащен двухосевой системой гиростабилизации и системой автосопровождения цели. Предназначен для обнаружения объектов в любых погодных условиях и в любое время суток.

Концерн «Калашников» поставил возимые комплексы дистанционного наблюдения «Гранат-4-Э» с модулем ГОЭСЦН заказчику точно в срок.

БПЛА «Гранат-4-Э» способен развивать скорость от 90 до 130 км/час, максимальная высота полета — 3000 метров, радиус применения — 55 км, запуск осуществляется с катапульты.
13 комментариев
Информация
Уважаемый читатель, чтобы оставлять комментарии к публикации, необходимо авторизоваться.
  1. +3
    Вчера, 10:22
    является ключевым элементом разведывательного комплекса
    Разведка, контроль и... затем, поражение важных объектов противника на всю глубину занимаемых территорий!!!
    В данный момент это очень, максимально важно!
    1. +6
      Вчера, 11:27
      Вот ещё интересный БПЛА-перехватчик разработали в России.То что надо .Его бы и масштабировать.Для перехвата вражеских дронов самое то. Ключевая особенность конструкции — гибридная аэродинамическая схема. Самолётный режим используется для высокоскоростного перехвата, а мультикоптерный — для точного наведения на цель в плотной воздушной обстановке.

      . ...схему необычного дрона-перехватчика с фюзеляжем и крылом, внутри которого размещены два стрелковых комплекса. Аппарат оснащён двигателями с воздушными винтами на крыльях, обеспечивающими горизонтальный крейсерский полёт. Дополнительно в носовой и хвостовой частях установлены два канальных вентилятора. Они работают перпендикулярно плоскости крыла и закрываются регулируемыми жалюзи. Такая схема позволяет формировать вертикальную тягу, включая режим зависания и точного позиционирования в воздухе.Система управления объединяет автопилот и модуль конечного наведения. Это обеспечивает захват, сопровождение и поражение воздушной цели на финальном участке траектории.


      https://www1.ru/news/2026/04/26/unikalnyi-dron-perekhvatchik-s-vnutrennim-vooruzheniem-pridumali-v-rossii.html

      Источник изображения ФИПС.
      1. 0
        Вчера, 11:46
        Ну, не настолько он уже уникальный, пробовали уже такой делать ( подозреваю, как "гаражный эрзац" на фронте ), см. фото ниже.

        Подумывал и я о таком, но НЕ зацикливался на нём. Там, если и ставить стрелковку, то что-то с ленточным питанием, ПКТ. Магазины ( 2 х 45 патронов от РПК-74 ) можно, конечно, но они будут создавать аэродинамическое сопротивление.

        Либо же делать воздушного бойца с манипуляторами ( моя идея-фикс, над которой работаю ), который сможет и перезарядить оружие.

        Повторю свою фразу - идеи витают в воздухе, осталось их лишь воплотить в жизнь:)
      2. +2
        Вчера, 11:55
        Чем сбивать вражеские дроны у нас ЕСТЬ, главное вовремя обнаружить и выдвинуть мобильные группы на перехват...
        Нужна комплексная, автоматизированная СИСТЕМА контроля воздушного пространства, ОЧЕНЬ НУЖНА!
        Кстати, важно что б системы активного поиска были отдельно от групп перехвата, тогда противник будет обходить зоны, в которых находятся "радары" и влетать в зоны контролируемым системами перехвата.
        У противника помоЧников хватает и разве данные они ему предоставляют оперативно...
        Нам все надо делать САМИМ, потому как никто кроме нас... soldier
        1. 0
          Вчера, 11:58
          Нам все надо делать САМИМ, потому как никто кроме нас...


          Как будто когда то было иначе.
  2. +3
    Вчера, 10:30
    The range is only 55km ?? at 100 KPH That is only 15 mins flight time to target
    1. +3
      Вчера, 10:38
      This is a reconnaissance drone, NOT a kamikaze drone with explosives! He DOESN'T need to chase after a target, the main thing is for him to FIND that target! And his flight duration is 8 hours ( this article is silent about this, but it's true! ).
  3. +1
    Вчера, 11:06
    Очевидно камера заднего вида и автоматика увода в противозенитный маневр появятся позже.
    1. 0
      Вчера, 16:28
      Очевидно камера заднего вида и автоматика увода в противозенитный маневр появятся позже.
      А разве её нет в этой "мошонке"? what
  4. +1
    Вчера, 11:12
    Теперь бы ещё модуль с ЛГСН добавить бомбам с УМПК
  5. 0
    Вчера, 11:28
    Судя по картинке громадный , только камера ставит все на место.
  6. 0
    Вчера, 11:34
    Выглядит достаточно архаично(планер). На фоне успешного применения электричек и того же орлана дальность выглядит более чем "скромно". Такое чувство , что это привет из 2010х. А индекс Э, это не экспорт случайно?
  7. 0
    Вчера, 15:38
    Нам нужны не столько дроны , сколько эффект от их применения